0 продуктов

Авторизация

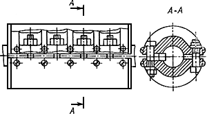
Продольно-свертная муфта без фиксации

Список продуктов
Данный раздел/документ содержится в продуктах:


ПРОДОЛЬНО-СВЕРТНАЯ МУФТА БЕЗ ФИКСАЦИИ

Разъемная муфта, имеющая разъем в плоскости параллельной оси муфты, которая соединяет зафиксированные в осевом направлении валы

"ГОСТ Р 50371-92 Муфты механические общемашиностроительного применения. Термины и определения" от 21.10.1992 г.

Категории продуктов

 

 

 

Знакомьтесь, "Техэксперт"

 Техэксперт для iPad

 Для Android

АКЦИЯ!

Бесплатный доступ