0 продуктов

Авторизация

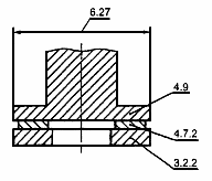
Диаметр пяты, диаметр упорной пяты

Список продуктов
Данный раздел/документ содержится в продуктах:

Категории продуктов

 

 

 

Знакомьтесь, "Техэксперт"

 Техэксперт для iPad

 Для Android

АКЦИЯ!

Бесплатный доступ