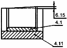
Непараллельность плоскостей разъема вкладыша
Список продуктов
Данный раздел/документ содержится в продуктах:
Данный раздел/документ содержится в продуктах:
- Техэксперт: Нормы, правила, стандарты и законодательство России
- Техэксперт: Нефтегазовый комплекс
- Техэксперт: Машиностроительный комплекс
- Техэксперт: Электроэнергетика
- Техэксперт: Теплоэнергетика
- Стройэксперт. "Вариант Лидер"
- Техэксперт: Эксплуатация зданий
- Стройтехнолог
НЕПАРАЛЛЕЛЬНОСТЬ ПЛОСКОСТЕЙ РАЗЪЕМА ВКЛАДЫША
En inclination
fr non-parallelisme des plans de joint
Величина, характеризующая отклонение от параллельности плоскостей разъема вкладыша относительно образующей наружной цилиндрической поверхности измерительного приспособления (рисунок 10)



