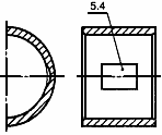
Смазочный карман
Список продуктов
Данный раздел/документ содержится в продуктах:
Данный раздел/документ содержится в продуктах:
- Техэксперт: Нормы, правила, стандарты и законодательство России
- Техэксперт: Нефтегазовый комплекс
- Техэксперт: Машиностроительный комплекс
- Техэксперт: Электроэнергетика
- Техэксперт: Теплоэнергетика
- Стройэксперт. "Вариант Лидер"
- Техэксперт: Эксплуатация зданий
- Стройтехнолог
СМАЗОЧНЫЙ КАРМАН
En oil pocket
fr alveole
Углубление на поверхности подшипника скольжения, служащее для накопления смазочного материала и его распределения (рисунок 26)



