Корпус подшипника скольжения
Список продуктов
Данный раздел/документ содержится в продуктах:
Данный раздел/документ содержится в продуктах:
- Техэксперт: Нормы, правила, стандарты и законодательство России
- Техэксперт: Нефтегазовый комплекс
- Техэксперт: Машиностроительный комплекс
- Техэксперт: Электроэнергетика
- Техэксперт: Теплоэнергетика
- Стройэксперт. "Вариант Лидер"
- Техэксперт: Эксплуатация зданий
- Стройтехнолог
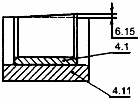
КОРПУС ПОДШИПНИКА СКОЛЬЖЕНИЯ
En plain bearing housing
fr logement ou support de palier lisse
Корпус, в котором устанавливается подшипник скольжения (рисунок 10)



