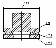
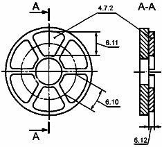
Упорный сегмент
Список продуктов
Данный раздел/документ содержится в продуктах:
Данный раздел/документ содержится в продуктах:
- Техэксперт: Нормы, правила, стандарты и законодательство России
- Техэксперт: Нефтегазовый комплекс
- Техэксперт: Машиностроительный комплекс
- Техэксперт: Электроэнергетика
- Техэксперт: Теплоэнергетика
- Стройэксперт. "Вариант Лидер"
- Техэксперт: Эксплуатация зданий
- Стройтехнолог
УПОРНЫЙ СЕГМЕНТ
En thrust pad
fr segment axial
Сегмент, представляющий собой составную часть сегментного упорного подшипника скольжения (рисунки 1, 5)




