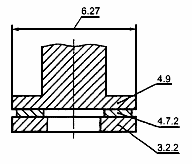
Упорный подшипник скольжения
Список продуктов
Данный раздел/документ содержится в продуктах:
Данный раздел/документ содержится в продуктах:
- Техэксперт: Нормы, правила, стандарты и законодательство России
- Техэксперт: Нефтегазовый комплекс
- Техэксперт: Машиностроительный комплекс
- Техэксперт: Электроэнергетика
- Техэксперт: Теплоэнергетика
- Стройэксперт. "Вариант Лидер"
- Техэксперт: Эксплуатация зданий
- Стройтехнолог
УПОРНЫЙ ПОДШИПНИК СКОЛЬЖЕНИЯ
En plain thrust bearing
thrust bearing
fr palier lisse de
(lisse)
Подшипник скольжения, воспринимающий нагрузку, направленную вдоль оси вращения вала (рисунок 1)



