Пластинчатый теплообменник
Список продуктов
Данный раздел/документ содержится в продуктах:
Данный раздел/документ содержится в продуктах:
- Техэксперт: Нормы, правила, стандарты и законодательство России
- Техэксперт: Нефтегазовый комплекс
- Техэксперт: Машиностроительный комплекс
- Техэксперт: Электроэнергетика
- Техэксперт: Теплоэнергетика
- Стройэксперт. "Вариант Лидер"
- Техэксперт: Эксплуатация зданий
- Стройтехнолог
ПЛАСТИНЧАТЫЙ ТЕПЛООБМЕННИК
(plate-and-frame heat exchanger)
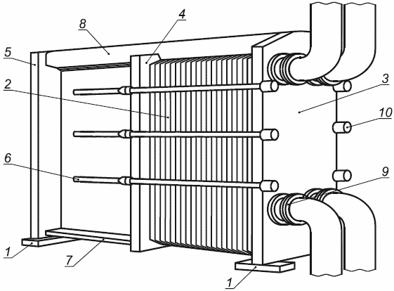
Теплообменник, собранный из пакета пластин сварного или полусварного на прокладках исполнения и поддерживающей рамы (см. рисунок 1).
1 - опорная лапа; 2 - пакет пластин; 3 - фиксирующая крышка; 4 - подвижная крышка; 5 - опорная стойка; 6 - стяжные болты; 7 - направляющая планка (нижняя); 8 - несущая планка (верхняя); 9 - соединения под сварку или фланец; 10 - стяжные гайки
Рисунок 1 - Типовой одноходовой пластинчатый теплообменник



