
Вы нашли документ, содержащийся в электронной базе документов - "ТЕХЭКСПЕРТ"!
Машины для приготовления бетонных и растворных смесей
МАШИНЫ ДЛЯ ПРИГОТОВЛЕНИЯ БЕТОННЫХ И РАСТВОРНЫХ СМЕСЕЙ
Бетонные и растворные смеси приготовляют путем механического перемешивания их компонентов в смесительных машинах - бетоно- и растворосмесителях. Качество смеси определяется точностью дозировки компонентов и равномерностью их распределения между собой по всему объему смеси. Для равномерного распределения компонентов смеси между собой в общем объеме замеса частицам материала сообщаются траектории движения с наибольшей возможностью их пересечения. Смешивание компонентов в однородную смесь является достаточно сложным технологическим процессом, который зависит от состава смеси, ее физико-механических свойств, времени смешивания и конструкции смешивающего устройства.
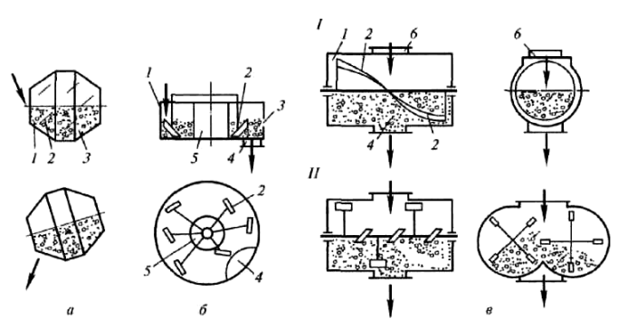
Рис.1. Принципиальные схемы смесителей цикличного действия (стрелками указано направление движения материалов):
а - гравитационных (барабанных); б - принудительного действия с вертикально расположенными смесительными валами (тарельчатых);
в - принудительного действия с горизонтально расположенными смесительными валами (лотковых) - вверху одновальные, внизу двухвальные;
/ - положение смешивания; // - положение разгрузки;
1 - барабан (корпус); 2 - лопасти; 3 - смесь; 4, 6 - разгрузочное и загрузочное отверстия; 5 - центральный стакан
Скачать документ нельзя - можно заказать Бесплатно! 1 документ
Документ будет отправлен на указанный Вами e-mail в течение 3 рабочих дней*
Часы работы: с Пн по Пт с 8:30 до 17:30 по московскому времени.
или
Посмотреть возможности крупнейшей электронной библиотеки "Техэксперт" - более 8 000 000 документов!



