
Вы нашли документ, содержащийся в электронной базе документов - "ТЕХЭКСПЕРТ"!
Подъемник монтажный автомобильный АГП-22.04
Данный раздел/документ содержится в продуктах:
ПОДЪЕМНИК МОНТАЖНЫЙ АВТОМОБИЛЬНЫЙ АГП-22.04
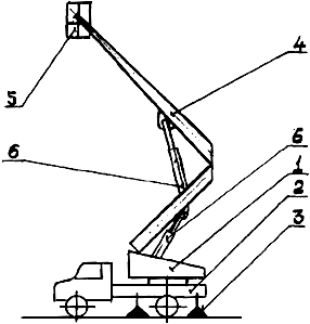
Изготовитель - Ленинградский РМЗ треста "Строймеханизация-1", Санкт-Петербург.
Предназначен для подъема двух рабочих с инструментом при выполнении строительно-монтажных или ремонтных работ на высоте.
Состоит из поворотной платформы 1, установленной на шасси автомобиля 2, выносных опор 3, коленчатой стрелы 4, люльки 5, гидроцилиндров 6.
Грузоподъемность люльки, кг |
300 |
Высота подъема, м |
22 |
Скачать документ нельзя - можно заказать Бесплатно! 1 документ
Документ будет отправлен на указанный Вами e-mail в течение 3 рабочих дней*
Часы работы: с Пн по Пт с 8:30 до 17:30 по московскому времени.
или
Посмотреть возможности крупнейшей электронной библиотеки "Техэксперт" - более 8 000 000 документов!



