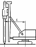
Вылет мачты копра
Список продуктов
Данный раздел/документ содержится в продуктах:
Данный раздел/документ содержится в продуктах:
- Техэксперт: Нормы, правила, стандарты и законодательство России
- Техэксперт: Нефтегазовый комплекс
- Техэксперт: Машиностроительный комплекс
- Стройэксперт. "Вариант Лидер"
- Техэксперт: Эксплуатация зданий
- Стройтехнолог
ВЫЛЕТ МАЧТЫ КОПРА
( в м)
Расстояние между продольной осью вертикально установленной на копре сваи и осью вращения платформы копра



