Последний находящийся в зацеплении виток резьбы
Список продуктов
Данный раздел/документ содержится в продуктах:
Данный раздел/документ содержится в продуктах:
- Техэксперт: Нормы, правила, стандарты и законодательство России
- Техэксперт: Нефтегазовый комплекс
- Техэксперт: Машиностроительный комплекс
- Техэксперт: Электроэнергетика
- Техэксперт: Теплоэнергетика
ПОСЛЕДНИЙ НАХОДЯЩИЙСЯ В ЗАЦЕПЛЕНИИ ВИТОК РЕЗЬБЫ
(last engaged thread)
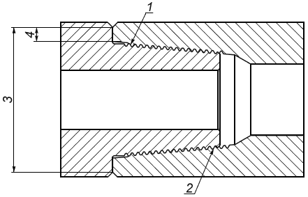
Последний виток резьбы на ниппеле бурильного замка, находящийся в зацеплении с муфтой соединительного замка или на муфте соединительного замка, находящегося в зацеплении с ниппелем бурильного замка (рисунок 2).
1 - последний находящийся в зацеплении виток резьбы - ниппель; 2 - последний находящийся в зацеплении виток резьбы - тело; 3 - диаметр упорного торца резьбы, DF; 4 - уплотнение
Рисунок 2 - Последний находящийся в зацеплении виток резьбы



