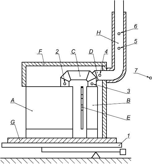
Патрубок топочного газа калорифера
Список продуктов
Данный раздел/документ содержится в продуктах:
Данный раздел/документ содержится в продуктах:
- Техэксперт: Нормы, правила, стандарты и законодательство России
- Техэксперт: Нефтегазовый комплекс
- Техэксперт: Машиностроительный комплекс
ПАТРУБОК ТОПОЧНОГО ГАЗА КАЛОРИФЕРА
Часть калорифера для крепления трубы топочного газа (см. рисунок А.13).
- калорифер;
- сопряженный газоход топочного газа;
- труба топочного газа;
- соединительный элемент;
- защита от излучения (перегородка);
- испытательная камера;
- основание;
- измерительный участок;



