Обгонное устройство
Список продуктов
Данный раздел/документ содержится в продуктах:
Данный раздел/документ содержится в продуктах:
- Техэксперт: Нормы, правила, стандарты и законодательство России
- Техэксперт: Нефтегазовый комплекс
- Техэксперт: Машиностроительный комплекс
ОБГОННОЕ УСТРОЙСТВО
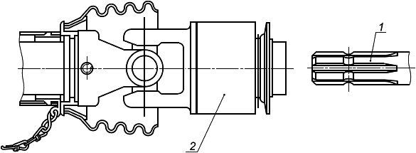
Устройство, которое позволяет передавать крутящий момент и вращательное движение только в одном направлении (от трактора или сельскохозяйственной машины - к орудию, рисунок 3).

1 - ВПМ; 2 - обгонное устройство
Рисунок 3 - Пример устройства обгонного устройства



