Вторичный приводной вал отбора мощности
Список продуктов
Данный раздел/документ содержится в продуктах:
Данный раздел/документ содержится в продуктах:
- Техэксперт: Нормы, правила, стандарты и законодательство России
- Техэксперт: Нефтегазовый комплекс
- Техэксперт: Машиностроительный комплекс
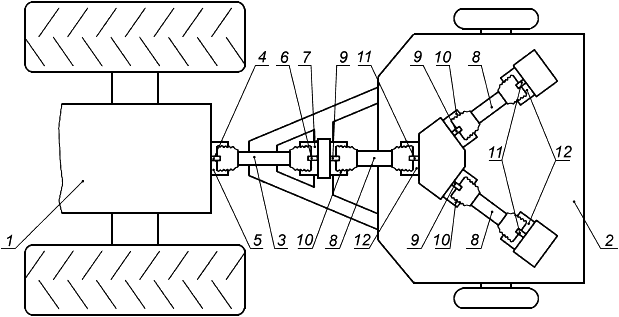
ВТОРИЧНЫЙ ПРИВОДНОЙ ВАЛ ОТБОРА МОЩНОСТИ
Часть линии привода орудия за ВПМ, имеющая такую же основную конструкцию, что и ВОМ (см. рисунок 2).
1 - трактор; 2 - орудие; 3 - приводной ВОМ; 4 - ВОМ; 5 - защитный кожух хвостовика ВОМ; 6 - ВПМ; 7 - Защитный кожух ВПМ; 8 - вторичный приводной ВПМ; 9 - вторичный ВОМ; 10 - вторичный защитный кожух ВОМ; 11 - вторичный ВПМ; 12 - вторичный защитный кожух ВПМ
Рисунок 2 - Пример устройства приводного ВОМ



