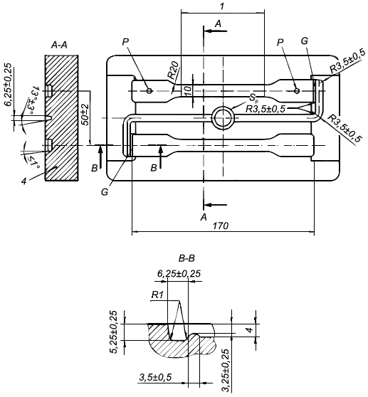
Форма с двумя полостями
Список продуктов
Данный раздел/документ содержится в продуктах:
Данный раздел/документ содержится в продуктах:
- Техэксперт: Нормы, правила, стандарты и законодательство России
- Техэксперт: Нефтегазовый комплекс
- Техэксперт: Машиностроительный комплекс
- Стройэксперт. "Вариант Лидер"
- Техэксперт: Эксплуатация зданий
- Стройтехнолог
ФОРМА С ДВУМЯ ПОЛОСТЯМИ
Форма, которая содержит две одинаковые полости, параллельно соединенные между собой (см. рисунок 2).
Примечание - Одинаковая геометрия пути движения пластифицированного материала и симметричное расположение полостей обеспечивает одинаковые свойства образцов для испытаний, изготовленных из одной партии материала.
1 - предпочтительно 82 мм; S - вертикальный литник; G - литник; P - датчик давления (не является обязательным элементом)
Рисунок 2 - Форма ИСО типа A с двумя полостями
Примечание - Объем литья V=30000 мм
; площадь проекции A
=6500 мм
.



