Кромкообразователь
Данный раздел/документ содержится в продуктах:
- Техэксперт: Нормы, правила, стандарты и законодательство России
- Техэксперт: Нефтегазовый комплекс
- Техэксперт: Машиностроительный комплекс
- Стройэксперт. "Вариант Лидер"
- Техэксперт: Эксплуатация зданий
- Стройтехнолог
КРОМКООБРАЗОВАТЕЛЬ
(trimmer)
Оснастка бетоноукладчика со скользящей опалубкой для небольших дорожных работ с вращающимся режущим диском, предназначенным для отделки уровня поверхности грунта или бетонной поверхности (см. рисунок А.1, пункт 4).
Примечание - Для больших работ, как правило, применяют отдельную машину.
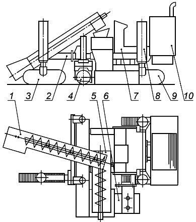
1 - основной шнековый питатель подачи бетонной смеси с возможностью регулировки направления; 2 - телескопическая рама с возможностью установки опций: кромкообразователя и поперечного шнекового питателя; 3 - управляемые передние гусеницы; 4 - регулируемый по горизонтали и вертикали кромкообразователь для боковых поверхностей; 5 - опциональное устройство поперечной подачи бетонной смеси шнеком/питателем при телескопическом смещении опалубки; 6 - гидравлическая скользящая опалубка; 7 - пульт управления; 8 - выравнивающие цилиндры с регулируемыми направляющими; 9 - задняя раздвижная гусеничная тележка; 10 - силовой агрегат
Рисунок А.1 - Базовая комплектация небольшой машины для устройства дорожного покрытия со скользящей опалубкой



