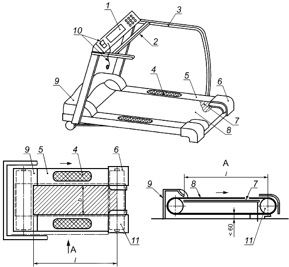
Ширина беговой поверхности
Список продуктов
Данный раздел/документ содержится в продуктах:
Данный раздел/документ содержится в продуктах:
- Техэксперт: Нормы, правила, стандарты и законодательство России
- Техэксперт: Нефтегазовый комплекс
- Техэксперт: Машиностроительный комплекс
ШИРИНА БЕГОВОЙ ПОВЕРХНОСТИ
Полезная ширина бегового полотна без учета защиты задних роликов.
Примечание - Размер b на рисунке 1.
1 - дисплей; 2 - передняя рукоятка; 3 - боковой поручень; 4 - нескользящая поверхность; 5 - платформа для ног; 6 - защита заднего ролика; 7 - движущаяся поверхность; 8 - беговое полотно (поверхность); 9 - передний кожух; 10 - аварийная остановка; 11 - задний ролик; - длина беговой поверхности (полотна); b - ширина беговой поверхности (полотна)
Рисунок 1 - Конструкция и элементы беговой дорожки



