Сцепная муфта
Список продуктов
Данный раздел/документ содержится в продуктах:
Данный раздел/документ содержится в продуктах:
- Техэксперт: Нормы, правила, стандарты и законодательство России
- Техэксперт: Нефтегазовый комплекс
- Техэксперт: Машиностроительный комплекс
- Стройэксперт. "Вариант Лидер"
- Техэксперт: Эксплуатация зданий
- Стройтехнолог
СЦЕПНАЯ МУФТА
(coupler)
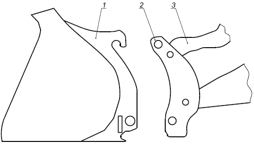
Оборудование, установленное на подъемном рычажном механизме погрузчика и предназначенное для крепления различного навесного оборудования с использованием общего интерфейса (см. рисунок 1).
1 - навесное оборудование; 2 - сцепная муфта; 3 - подъемный рычажный механизм
Рисунок 1 - Подъемный рычажный механизм погрузчика со сцепной муфтой и навесным оборудованием
"ГОСТ ISO 23727-2014 Машины землеройные. Сцепление для колесных погрузчиков" от 15.06.2015 г.



