Зазор вдоль шарнирной линии игрушки
Список продуктов
Данный раздел/документ содержится в продуктах:
Данный раздел/документ содержится в продуктах:
- Техэксперт: Нормы, правила, стандарты и законодательство России
- Техэксперт: Нефтегазовый комплекс
- Техэксперт: Машиностроительный комплекс
ЗАЗОР ВДОЛЬ ШАРНИРНОЙ ЛИНИИ ИГРУШКИ
Расстояние между стационарной частью игрушки и ее подвижной частью по всей линии или смежное с линией, спроецированной через ось вращения.
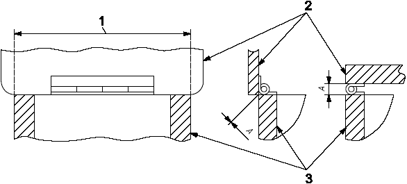
Примечание - См. рисунок 4.
1 - шарнирная линия; 2 - крышка; 3 - ящик; A - расстояние между краями деталей, соединенных шарниром
Рисунок 4 - Зазор по шарнирной линии



