Ширина сиденья кресла-коляски
Список продуктов
Данный раздел/документ содержится в продуктах:
Данный раздел/документ содержится в продуктах:
- Техэксперт: Нормы, правила, стандарты и законодательство России
- Техэксперт: Нефтегазовый комплекс
- Техэксперт: Машиностроительный комплекс
ШИРИНА СИДЕНЬЯ КРЕСЛА-КОЛЯСКИ
En width
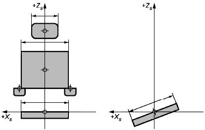
Линейный размер опорной поверхности сиденья, измеренный в направлении оси по линии, параллельной базовой плоскости опорной поверхности (см. рисунок 6).
Рисунок 6 - Примеры ширины



