Начало координат
Список продуктов
Данный раздел/документ содержится в продуктах:
Данный раздел/документ содержится в продуктах:
- Техэксперт: Нормы, правила, стандарты и законодательство России
- Техэксперт: Нефтегазовый комплекс
- Техэксперт: Машиностроительный комплекс
НАЧАЛО КООРДИНАТ
(origin):
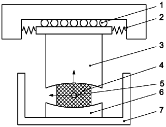
Центр системы координат, расположенный в геометрическом центре моделируемого кольца.
Примечание - См. рисунок 1.
Условные обозначения:
1 - шариковый подшипник; 2 - система ограничения смещения; 3 - верхняя ограничительная пластина; 4 - протез ядра; 5 - начало координат; 6 - нижняя ограничительная пластина; 7 - испытательная камера
Рисунок 1 - Принцип проведения испытания



