Дровокольный винтовой станок
Список продуктов
Данный раздел/документ содержится в продуктах:
Данный раздел/документ содержится в продуктах:
- Техэксперт: Охрана труда
- Техэксперт: Нормы, правила, стандарты и законодательство России
- Техэксперт: Нефтегазовый комплекс
- Техэксперт: Машиностроительный комплекс
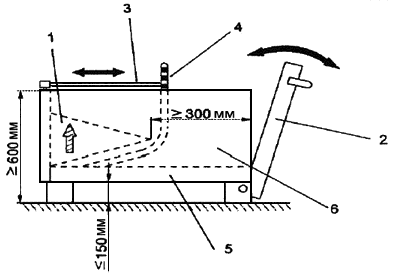
ДРОВОКОЛЬНЫЙ ВИНТОВОЙ СТАНОК
(screw splitter):
Станок, в котором процесс раскалывания осуществляется посредством движения сортимента навстречу вращающемуся коническому винту (см. рисунки 1a и 1b).
2 - устройство подачи; 3 - верхнее защитное ограждение; 4 - устройство для удаления застрявшего сортимента; 5 - ограничительный упор; 6 - боковое защитное ограждение
Рисунок 1a - Винтовой станок, положение пуска



