Гвоздь
Список продуктов
Данный раздел/документ содержится в продуктах:
Данный раздел/документ содержится в продуктах:
- Техэксперт: Нормы, правила, стандарты и законодательство России
- Техэксперт: Нефтегазовый комплекс
- Техэксперт: Машиностроительный комплекс
- Техэксперт: Электроэнергетика
- Техэксперт: Теплоэнергетика
- Стройэксперт. "Вариант Лидер"
- Техэксперт: Эксплуатация зданий
- Стройтехнолог
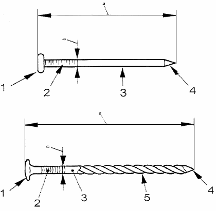
ГВОЗДЬ
(nail)
Прямой стержень, изготовленный из металла круглого или квадратного сечения, с острием и головкой на тупом конце (рисунок 67).

a - длина; b - диаметр
1 - головка; 2 - насечки в виде небольших канавок; 3 - гладкая поверхность гвоздя; 4 - острие; 5 - винтовая часть
Рисунок 67 - Гвозди
"ГОСТ ISO 445-2013 Средства пакетирования. Поддоны. Термины и определения" от 22.11.2013 г.



