Выход вентилятора
Список продуктов
Данный раздел/документ содержится в продуктах:
Данный раздел/документ содержится в продуктах:
- Техэксперт: Нормы, правила, стандарты и законодательство России
- Техэксперт: Нефтегазовый комплекс
- Техэксперт: Машиностроительный комплекс
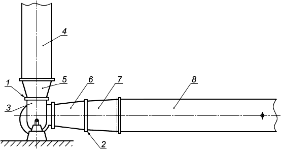
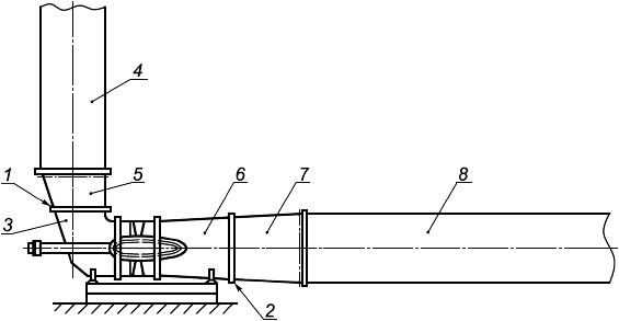
ВЫХОД ВЕНТИЛЯТОРА
(fan outlet area),
По соглашению - большая площадь в плоскости выхода из корпуса вентилятора без исключения площади двигателей, обтекателей или других элементов.
Примечание - Плоскость выхода из вентилятора следует принимать как поверхность, ограниченную внутренней границей выходного фланца. В настоящем стандарте выходная плоскость вентилятора обозначена "плоскость 2" (см. рисунок 1).
а) Осевой вентилятор



