0 продуктов

Авторизация

Стены мишени

Список продуктов
Данный раздел/документ содержится в продуктах:


СТЕНЫ МИШЕНИ

(target walls)

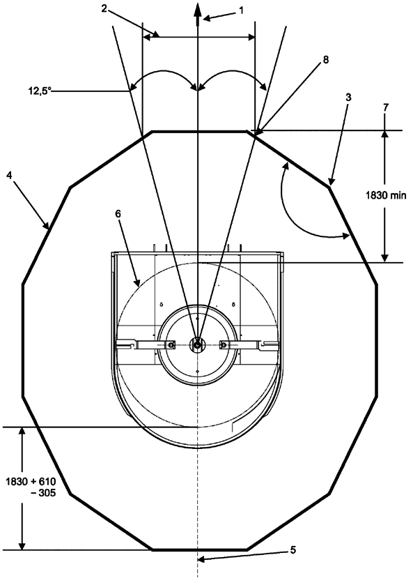
Комбинация материала мишени и опор (см. поперечное сечение на рисунке 9 и расположение стен на рисунках 7 и 8).

    

     

1 - направление вперед; 2 - ширина зоны расположения оператора; 3 - минимальный угол между плоскими панелями (не менее 125°); 4 - стены-мишени; 5 - косилка должна быть расположена как можно ближе к центру; 6 - круг вращения кончиков режущих элементов; 7 - минимальное расстояние до стены-мишени в зоне расположения оператора; 8 - точки пересечения проецирующих линий со стеной-мишенью

     
Рисунок 7 - Расположение стен-мишеней для косилки с одним блоком режущих элементов

     

     
Размеры в миллиметрах

Категории продуктов

 

 

 

Знакомьтесь, "Техэксперт"

 Техэксперт для iPad

 Для Android

АКЦИЯ!

Бесплатный доступ