Нижний предельный размер
Список продуктов
Данный раздел/документ содержится в продуктах:
Данный раздел/документ содержится в продуктах:
- Техэксперт: Нормы, правила, стандарты и законодательство России
- Техэксперт: Нефтегазовый комплекс
- Техэксперт: Машиностроительный комплекс
- Техэксперт: Электроэнергетика
- Техэксперт: Теплоэнергетика
- Стройэксперт. "Вариант Лидер"
- Техэксперт: Эксплуатация зданий
- Стройтехнолог
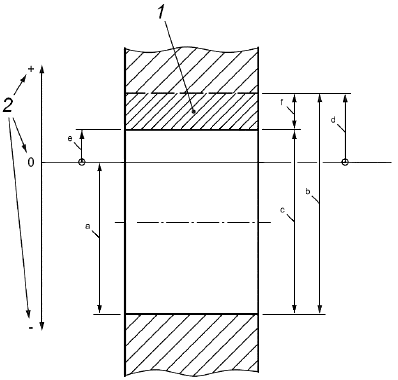
НИЖНИЙ ПРЕДЕЛЬНЫЙ РАЗМЕР
(lower limit of size; LLS):
Наименьший допустимый размер размерного элемента.
См. рисунок 1.
1 - интервал допуска; 2 - правило знаков для отклонений; а - номинальный размер; b - верхний предельный размер; с - нижний предельный размер; d - верхнее предельное отклонение; е - нижнее предельное отклонение (в данном случае оно является и основным отклонением); f - допуск;
Примечание - Непрерывная горизонтальная линия, ограничивающая интервал допуска, показывает основное отклонение, а штриховая - другое (не основное) предельное отклонение отверстия.



