Воздушный сепаратор
Список продуктов
Данный раздел/документ содержится в продуктах:
Данный раздел/документ содержится в продуктах:
- Техэксперт: Охрана труда
- Техэксперт: Нормы, правила, стандарты и законодательство России
- Техэксперт: Нефтегазовый комплекс
- Техэксперт: Машиностроительный комплекс
ВОЗДУШНЫЙ СЕПАРАТОР
(air classifier)
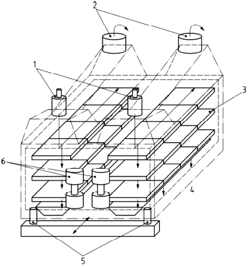
Машина для сортировки и/или отделения зерен и/или зерновых продуктов в зависимости от удельного веса за счет возвратно-поступательных движений (см. рисунок 3).
К данной группе относятся: ситовеечная машина, сортировщик по массе, тарар, камнеотборочная машина, концентратор.
1 - отверстие для подачи продукции; 2 - точка аспирации; 3 - сита; 4 - отверстие для выпуска продукции; 5 - поддерживающие пружины; 6 - вибрационные устройства
Рисунок 3 - Принцип действия воздушных сепараторов (ситовеечных машин, сортировщиков по массе, тараров, камнеотборочных машин, концентраторов)



