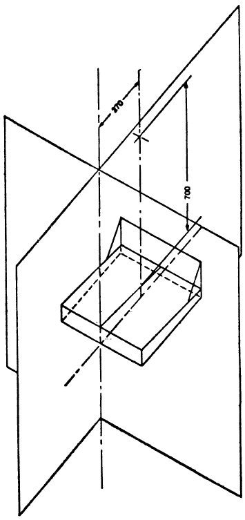
Базовая точка (для трактора)
Список продуктов
Данный раздел/документ содержится в продуктах:
Данный раздел/документ содержится в продуктах:
- Техэксперт: Нормы, правила, стандарты и законодательство России
- Техэксперт: Нефтегазовый комплекс
- Техэксперт: Машиностроительный комплекс
БАЗОВАЯ ТОЧКА (ДЛЯ ТРАКТОРА)
Точка, которая находится в плоскости, параллельной средней продольной плоскости трактора и проходящей через середину сиденья на расстоянии 700 мм выше линии пересечения этой плоскости с поверхностью сиденья и в 270 мм - в направлении опоры таза - от вертикальной плоскости, касательной к переднему краю поверхности сиденья и перпендикулярной к средней продольной плоскости трактора (см. рис.1). Определенная таким образом базовая точка соответствует свободному сиденью в среднем положении регулировки, указанном заводом-изготовителем трактора.
Рис.1



