Устройство для оптимального управления пуском и остановом систем отопления (оптимизатор пуска-останова)
Данный раздел/документ содержится в продуктах:
- Техэксперт: Нормы, правила, стандарты и законодательство России
- Техэксперт: Нефтегазовый комплекс
- Техэксперт: Машиностроительный комплекс
- Стройэксперт. "Вариант Лидер"
- Техэксперт: Эксплуатация зданий
- Стройтехнолог
УСТРОЙСТВО ДЛЯ ОПТИМАЛЬНОГО УПРАВЛЕНИЯ ПУСКОМ И ОСТАНОВОМ СИСТЕМ ОТОПЛЕНИЯ (ОПТИМИЗАТОР ПУСКА-ОСТАНОВА)
(start-stop optimizer)
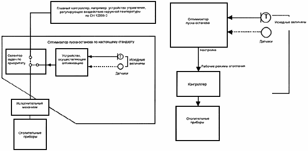
Устройство управления, которое выполняет функции оптимального пуска и останова систем отопления, причем функция пуска должна обеспечивать компенсацию тарифа. В состав устройства входят электронный контроллер, выдающий выходные сигналы, и датчики измеряемых величин. Устройство не включает в себя исполнительные механизмы. Пример применения оптимизатора пуска-останова показан на рисунке 4.
Рисунок 4 - Примеры применения оптимизатора пуска-останова
Оптимизатор пуска-останова блокирует сигналы главного контроллера на период времени от выключения отопления до начала периода пребывания людей. Оптимизатор пуска-останова может входить в состав устройства управления, выполняющего другие функции.



