Группа сосудов
Список продуктов
Данный раздел/документ содержится в продуктах:
Данный раздел/документ содержится в продуктах:
- Техэксперт: Охрана труда
- Техэксперт: Промышленная безопасность
- Техэксперт: Пожарная безопасность
- Техэксперт: Нормы, правила, стандарты и законодательство России
- Техэксперт: Нефтегазовый комплекс
- Техэксперт: Машиностроительный комплекс
ГРУППА СОСУДОВ
(trough group)
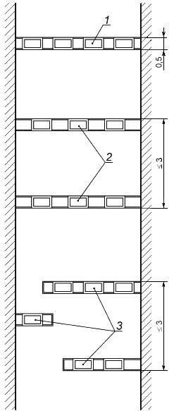
Любые сосуды, являющиеся частью рассредоточенного заслона и расположенные на участке выработки длинной не более 3 м.
Примечание - См. рисунок 1. В группу может входить от 1 до 3 рядов сосудов.

1 - группа из одного ряда сосудов; 2 - группа из двух рядов сосудов; 3 - группа из трех рядов сосудов
Рисунок 1 - Группа сосудов, вид сверху



