Защитное устройство передней рукоятки
Список продуктов
Данный раздел/документ содержится в продуктах:
Данный раздел/документ содержится в продуктах:
- Техэксперт: Охрана труда
- Техэксперт: Промышленная безопасность
- Техэксперт: Пожарная безопасность
- Техэксперт: Нормы, правила, стандарты и законодательство России
- Техэксперт: Нефтегазовый комплекс
- Техэксперт: Машиностроительный комплекс
- Техэксперт: Электроэнергетика
- Техэксперт: Теплоэнергетика
- Стройэксперт. "Вариант Лидер"
- Техэксперт: Эксплуатация зданий
- Стройтехнолог
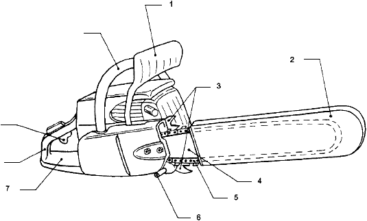
ЗАЩИТНОЕ УСТРОЙСТВО ПЕРЕДНЕЙ РУКОЯТКИ
(front hand guard)
Щиток между передней рукояткой и пильной цепью для защиты руки от повреждения в случае ее соскальзывания с рукоятки (рисунок 101).
1 - рычаг тормоза цепи; 2 - чехол направляющей шины; 3 - зубчатый упор; 4 - направляющая шина; 5 - пильная цепь; 6 - цепеуловитель; 7 - защитное устройство задней рукоятки; 8 - задняя рукоятка; 9 - пусковая клавиша выключателя; 10 - передняя рукоятка
Рисунок 101 - Терминология цепных пил



