Цепная пила
Список продуктов
Данный раздел/документ содержится в продуктах:
Данный раздел/документ содержится в продуктах:
- Техэксперт: Охрана труда
- Техэксперт: Промышленная безопасность
- Техэксперт: Пожарная безопасность
- Техэксперт: Нормы, правила, стандарты и законодательство России
- Техэксперт: Нефтегазовый комплекс
- Техэксперт: Машиностроительный комплекс
- Техэксперт: Электроэнергетика
- Техэксперт: Теплоэнергетика
- Стройэксперт. "Вариант Лидер"
- Техэксперт: Эксплуатация зданий
- Стройтехнолог
ЦЕПНАЯ ПИЛА
(chain saw)
Замкнутая пила в виде цепи с зубьями.
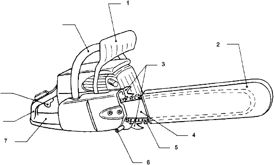
ЦЕПНАЯ ПИЛА
(chain saw)
Машина, применяемая для древесины и состоящая из моноблочного агрегата: рукояток, электродвигателя и пильного аппарата, предназначенная для удержания двумя руками (рисунок 101).



