Класс A2 (для анкерных устройств)
Список продуктов
Данный раздел/документ содержится в продуктах:
Данный раздел/документ содержится в продуктах:
- Техэксперт: Охрана труда
- Техэксперт: Нормы, правила, стандарты и законодательство России
- Техэксперт: Нефтегазовый комплекс
- Техэксперт: Машиностроительный комплекс
КЛАСС A2
(class А2)
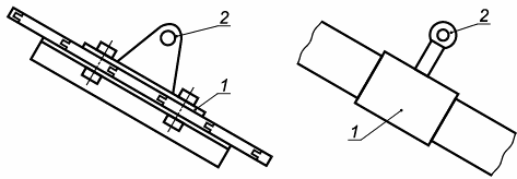
Включает структурные анкеры для крепления к наклонным крышам (см. рисунок 2).

1 - структурный анкер; 2 - точка анкерного крепления
Рисунок 2 - Класс А2. Примеры структурных анкеров, предназначенных для крепления к наклонным крышам



