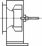
Вентилятор с открытым валом
Список продуктов
Данный раздел/документ содержится в продуктах:
Данный раздел/документ содержится в продуктах:
- Техэксперт: Нормы, правила, стандарты и законодательство России
- Техэксперт: Нефтегазовый комплекс
- Техэксперт: Машиностроительный комплекс
- Техэксперт: Электроэнергетика
- Техэксперт: Теплоэнергетика
- Стройэксперт. "Вариант Лидер"
- Техэксперт: Эксплуатация зданий
- Стройтехнолог
ВЕНТИЛЯТОР С ОТКРЫТЫМ ВАЛОМ
Вентилятор без привода, который имеет свободный конец вала. (см. рисунок 1).

Рисунок 1 - Вентилятор с открытым валом
"ГОСТ 31961-2012 Вентиляторы промышленные. Показатели энергоэффективности" от 06.09.2013 г.
ВЕНТИЛЯТОР С ОТКРЫТЫМ ВАЛОМ
(bare shaft fan)
Вентилятор без привода, оборудования и аксессуаров (принадлежностей) (см. рисунок 1).



