0 продуктов

Авторизация

Расхождение стыка

Список продуктов
Данный раздел/документ содержится в продуктах:


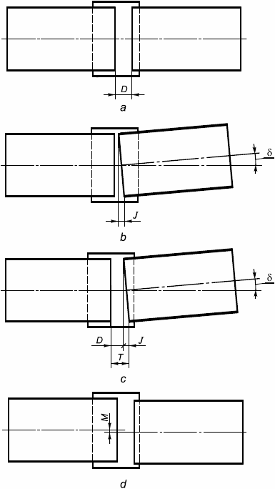
РАСХОЖДЕНИЕ СТЫКА

(draw) , мм

Продольное смещение соединения (рисунок 1).




- расхождение стыка; - продольное смещение, возникающее из-за углового отклонения соединения; - угловое отклонение соединения; - общее расхождение стыка; - осевое смещение

Категории продуктов

 

 

 

Знакомьтесь, "Техэксперт"

 Техэксперт для iPad

 Для Android

АКЦИЯ!

Бесплатный доступ