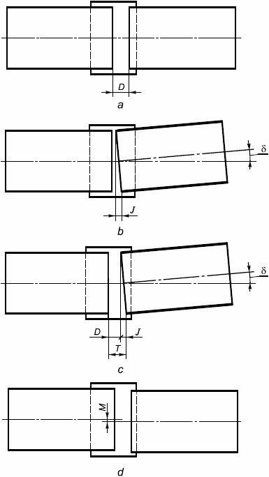
Осевое смещение
Список продуктов
Данный раздел/документ содержится в продуктах:
Данный раздел/документ содержится в продуктах:
- Техэксперт: Нормы, правила, стандарты и законодательство России
- Техэксперт: Нефтегазовый комплекс
- Техэксперт: Машиностроительный комплекс
- Техэксперт: Электроэнергетика
- Техэксперт: Теплоэнергетика
- Стройэксперт. "Вариант Лидер"
- Техэксперт: Эксплуатация зданий
- Стройтехнолог
ОСЕВОЕ СМЕЩЕНИЕ
(misalignment) , мм
Расстояние между осевыми линиями последовательно установленных труб (рисунок 1).
- расхождение стыка;
- продольное смещение, возникающее из-за углового отклонения соединения;
- угловое отклонение соединения;
- общее расхождение стыка;
- осевое смещение



