Наибольший натяг
Список продуктов
Данный раздел/документ содержится в продуктах:
Данный раздел/документ содержится в продуктах:
- Техэксперт: Нормы, правила, стандарты и законодательство России
- Техэксперт: Нефтегазовый комплекс
- Техэксперт: Машиностроительный комплекс
- Техэксперт: Электроэнергетика
- Техэксперт: Теплоэнергетика
- Стройэксперт. "Вариант Лидер"
- Техэксперт: Эксплуатация зданий
- Стройтехнолог
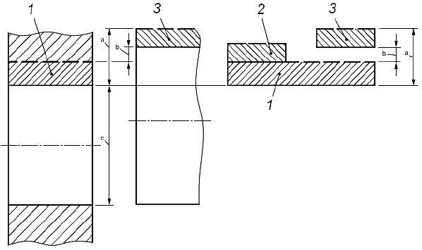
НАИБОЛЬШИЙ НАТЯГ
(maximum interference)
Разность между нижним предельным размером отверстия и верхним предельным размером вала.
См. рисунки 3 и 4.
а) Подробное представление b) Схематическое представление
1 - интервал допуска отверстия; 2 - интервал допуска вала, случай 1: нижний предельный размер вала совпадает с верхним предельным размером отверстия, наименьший натяг равен нулю; 3 - интервал допуска вала, случай 2: нижний предельный размер вала больше, чем верхний предельный размер отверстия, наименьший натяг больше нуля; а - наибольший натяг; b - наименьший натяг; с - номинальный размер, равный нижнему предельному размеру отверстия



