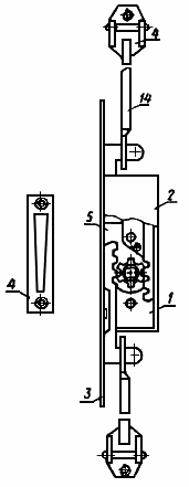
Штанга завертки
Список продуктов
Данный раздел/документ содержится в продуктах:
Данный раздел/документ содержится в продуктах:
- Техэксперт: Нормы, правила, стандарты и законодательство России
- Техэксперт: Нефтегазовый комплекс
- Техэксперт: Машиностроительный комплекс
- Стройэксперт. "Вариант Лидер"
- Техэксперт: Эксплуатация зданий
- Стройтехнолог
ШТАНГА ЗАВЕРТКИ
Деталь завертки, служащая для обеспечения плотного закрывания створки окна в двух точках (черт.4, поз.14)

Черт.4
"ГОСТ 27346-87 (СТ СЭВ 5615-86) Изделия замочно-скобяные. Термины и определения" от 05.05.1987 г.



