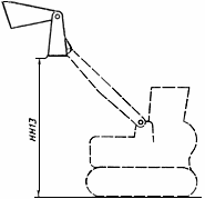
Максимальная высота разгрузки раскрытого двухчелюстного ковша
Список продуктов
Данный раздел/документ содержится в продуктах:
Данный раздел/документ содержится в продуктах:
- Техэксперт: Нормы, правила, стандарты и законодательство России
- Техэксперт: Нефтегазовый комплекс
- Техэксперт: Машиностроительный комплекс
- Стройэксперт. "Вариант Лидер"
- Техэксперт: Эксплуатация зданий
- Стройтехнолог
МАКСИМАЛЬНАЯ ВЫСОТА РАЗГРУЗКИ РАСКРЫТОГО ДВУХЧЕЛЮСТНОГО КОВША
НН13
Расстояние по координате от GRP до нижней точки режущей кромки бульдозерной челюсти раскрытого двухчелюстного ковша при максимальной высоте шарнира ковша и горизонтальном положении нижней поверхности бульдозерной челюсти



