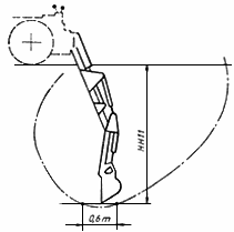
Глубина копания обратной лопаты
Список продуктов
Данный раздел/документ содержится в продуктах:
Данный раздел/документ содержится в продуктах:
- Техэксперт: Нормы, правила, стандарты и законодательство России
- Техэксперт: Нефтегазовый комплекс
- Техэксперт: Машиностроительный комплекс
- Стройэксперт. "Вариант Лидер"
- Техэксперт: Эксплуатация зданий
- Стройтехнолог
ГЛУБИНА КОПАНИЯ ОБРАТНОЙ ЛОПАТЫ
НН11
Расстояние по координате от GRP до плоскости
, расположенной на плоском дне траншеи на участке длиной 0,6 м, образованном режущей кромкой или зубьями ковша обратной лопаты



