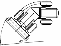
Максимальный радиус поворота с ковшом в транспортном положении
Список продуктов
Данный раздел/документ содержится в продуктах:
Данный раздел/документ содержится в продуктах:
- Техэксперт: Нормы, правила, стандарты и законодательство России
- Техэксперт: Нефтегазовый комплекс
- Техэксперт: Машиностроительный комплекс
- Стройэксперт. "Вариант Лидер"
- Техэксперт: Эксплуатация зданий
- Стройтехнолог
МАКСИМАЛЬНЫЙ РАДИУС ПОВОРОТА С КОВШОМ В ТРАНСПОРТНОМ ПОЛОЖЕНИИ
R3
Расстояние по координате от центра поворота до наиболее удаленной точки боковой поверхности ковша при выполнении машиной самого крутого практически возможного поворота



