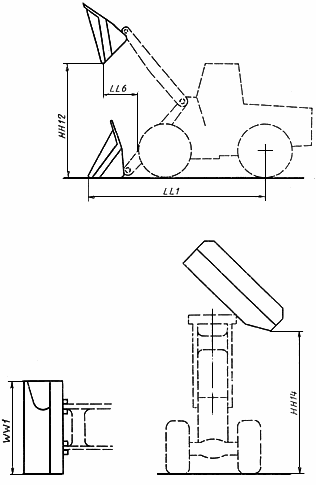
Ковш с боковой разгрузкой
Список продуктов
Данный раздел/документ содержится в продуктах:
Данный раздел/документ содержится в продуктах:
- Техэксперт: Нормы, правила, стандарты и законодательство России
- Техэксперт: Нефтегазовый комплекс
- Техэксперт: Машиностроительный комплекс
- Стройэксперт. "Вариант Лидер"
- Техэксперт: Эксплуатация зданий
- Стройтехнолог
КОВШ С БОКОВОЙ РАЗГРУЗКОЙ
Ковш, который заполняется при движении машины вперед и может выгружать материал через какую-либо боковую сторону ковша. Он может также выгружать материал вперед (см. черт.19).
Черт.19. Размеры ковша с боковой разгрузкой



