Обратная лопата
Список продуктов
Данный раздел/документ содержится в продуктах:
Данный раздел/документ содержится в продуктах:
- Техэксперт: Нормы, правила, стандарты и законодательство России
- Техэксперт: Нефтегазовый комплекс
- Техэксперт: Машиностроительный комплекс
- Стройэксперт. "Вариант Лидер"
- Техэксперт: Эксплуатация зданий
- Стройтехнолог
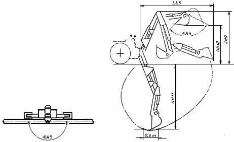
ОБРАТНАЯ ЛОПАТА
Механизм, навешиваемый на заднюю часть погрузчика, который обычно копает материал ниже уровня стоянки, поднимает, перемещает с поворотом и выгружает материал, действуя стрелой, рукоятью и ковшом. Копание осуществляется движением ковша в направлении к машине. Обратная лопата поворачивается в плане на угол менее 360° (см. черт.17).
Черт.17. Размеры обратной лопаты
ЛОПАТА ОБРАТНАЯ



