0 продуктов

Авторизация

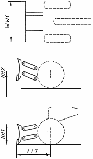
Передний отвал


ПЕРЕДНИЙ ОТВАЛ

Отвал, обычно имеющий криволинейную поверхность, размещенный впереди передних колес и предназначенный для сгребания и толкания материала, обычно в направлении вперед (см. черт.19).

Размеры переднего отвала



           

Черт.19 

"ГОСТ 27535-87 (ИСО 7134-85) Машины землеройные. Автогрейдеры. Термины, определения и техническая характеристика для коммерческой документации" от 18.12.1987 г.

Категории продуктов

 

 

 

Знакомьтесь, "Техэксперт"

 Техэксперт для iPad

 Для Android

АКЦИЯ!

Бесплатный доступ