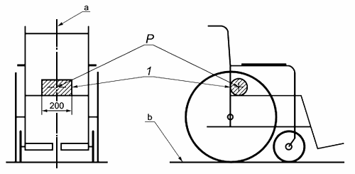
Базовая плоскость кресла-коляски
Список продуктов
Данный раздел/документ содержится в продуктах:
Данный раздел/документ содержится в продуктах:
- Техэксперт: Нормы, правила, стандарты и законодательство России
- Техэксперт: Нефтегазовый комплекс
- Техэксперт: Машиностроительный комплекс
БАЗОВАЯ ПЛОСКОСТЬ КРЕСЛА-КОЛЯСКИ
Wheelchair reference plane
Вертикальная плоскость, содержащая продольную ось кресла-коляски. См. рисунок 23.
_______________
Базовая плоскость кресла-коляски.
Плоскость основания кресла-коляски.
1 - цилиндр диаметром 100 мм



