Сборочный узел самоориентирующегося колеса
Список продуктов
Данный раздел/документ содержится в продуктах:
Данный раздел/документ содержится в продуктах:
- Техэксперт: Нормы, правила, стандарты и законодательство России
- Техэксперт: Нефтегазовый комплекс
- Техэксперт: Машиностроительный комплекс
СБОРОЧНЫЙ УЗЕЛ САМООРИЕНТИРУЮЩЕГОСЯ КОЛЕСА
Castor assembly
caster assembly
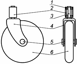
Смонтированные в один узел самоориентирующееся колесо, ось самоориентирующегося колеса, вилка самоориентирующегося колеса, шток самоориентирующегося колеса, корпус штока самоориентирующегося колеса, подшипники и покрышки. См. рисунок 1.

1 - подшипник; 2 - корпус штока самоориентирующегося колеса; 3 - шток самоориентирующегося колеса; 4 - вилка самоориентирующегося колеса; 5 - ось самоориентирующегося колеса; 6 - самоориентирующееся колесо
Рисунок 1 - Сборочный узел самоориентирующегося колеса



