Машина для нарезания хлеба
Список продуктов
Данный раздел/документ содержится в продуктах:
Данный раздел/документ содержится в продуктах:
- Техэксперт: Охрана труда
- Техэксперт: Нормы, правила, стандарты и законодательство России
- Техэксперт: Нефтегазовый комплекс
- Техэксперт: Машиностроительный комплекс
МАШИНА ДЛЯ НАРЕЗАНИЯ ХЛЕБА
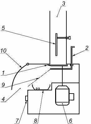
Машина, снабженная ножом в форме полумесяца, закрепленным на вращающемся валу, и вертикальной ручной загрузкой (см. рисунок 1).

1 - рабочий орган (один вращающийся нож); 2 - устройство для установки толщины ломтиков; 3 - загрузочный желоб; 4 - выгрузочный желоб; 5 - направляющее устройство для установки размера загрузочного желоба по размеру хлеба; 6 - привод; 7 - включатель; 8 - поддон для крошек; 9 - наклонная пластина (рампа); 10 - крышка выгрузочной зоны
Рисунок 1 - Машина для нарезания хлеба



