Элементы оборудования штанговой скважинной насосной установки
Список продуктов
Данный раздел/документ содержится в продуктах:
Данный раздел/документ содержится в продуктах:
- Техэксперт: Нормы, правила, стандарты и законодательство России
- Техэксперт: Нефтегазовый комплекс
- Техэксперт: Машиностроительный комплекс
- Техэксперт: Электроэнергетика
- Техэксперт: Теплоэнергетика
- Стройэксперт. "Вариант Лидер"
- Техэксперт: Эксплуатация зданий
- Стройтехнолог
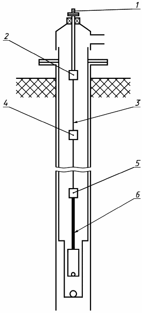
ЭЛЕМЕНТЫ ОБОРУДОВАНИЯ ШТАНГОВОЙ СКВАЖИННОЙ НАСОСНОЙ УСТАНОВКИ
(рисунок 1)

1 - устьевой шток; 2 - муфта устьевого штока; 3 - штанга; 4 - соединительная муфта; 5 - переводная муфта; 6 - утяжеленная штанга
Рисунок 1



