Центрифуга - декантер
Список продуктов
Данный раздел/документ содержится в продуктах:
Данный раздел/документ содержится в продуктах:
- Техэксперт: Охрана труда
- Техэксперт: Нормы, правила, стандарты и законодательство России
- Техэксперт: Нефтегазовый комплекс
- Техэксперт: Машиностроительный комплекс
ЦЕНТРИФУГА - ДЕКАНТЕР
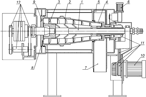
Горизонтальная осадительная центрифуга с полым ротором, в которой для разделения суспензии применяется способ центробежного осаждения. Используется для выделения твердой фракции из жидкой фазы (из масла или из эмульсии масла и воды (см. рисунок 1)).

1 - питающая труба; 2 - внутренняя поверхность ротора; 3 - шнек; 4 - выпускное отверстие; 5 - скребок; 6 - электродвигатель; 7 - стенка ротора; 8 - масло; 9 - вода; 10 - электродвигатель; 11 - трансмиссия; 12 - привод
Рисунок 1 - Центрифуга - декантер (пример)



